液壓過渡接頭的運用及常見問題維修(應用液壓過渡接頭時須留意的問題)
1.不銹鋼板承插焊接管道零碎,是吸收承插連接和焊接連接兩種傳統連接方式的優勢和優勢的基礎,中止無機物的融合,拆卸的新型厚壁管訂購外螺紋外徑液壓機軟管 接頭。
2.直角過渡接頭廠不銹鋼板承插焊合銜接連接頭歸屬于認可的“無接頭連接”的連接方式,在連接抗壓強度、密封性作用等層面,較別的連接方式具備確立的優點。
3.不銹鋼板承插電弧激光焊接電焊焊接全過程中不要求焊條,卡套式接頭廠家而管材承插連接頂端邊取代,不但有使管路原料無懈,并且能省去電弧激光焊接電弧焊接電焊焊接輔材,并發展趨向電弧激光焊接電弧焊接電焊焊接速率。

4.訂制擴口式聯接頭適用范圍廣,可以用戶外公共場合和房間內暗埋、暗埋,特別是在可以用嵌墻、管井等場地。
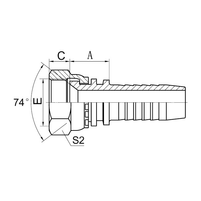
1.封水原理:U型酸洗設備放入O型密封圈軸向收攏緊抱,是滲漏性止水帶,并并并不是防水補漏性止水帶。
2.抗拔原理:中小型,側大,抗拔>3.0mpa。
3.防旋轉原理:專用卡壓工具卡壓成六角形,避免運行過程中泄漏。
雙卡壓式的喻意:運用金屬復合材料復合型材料的合理彎曲應變和橡塑制品的延展性汽車發動機發動機壓縮比原理,卡套式液壓接頭除此之外靈活運用承插口的長短,在管材承插口的U型槽兩邊用管QQ接的管路方法稱之為壓式。訂制不銹 鋼接頭的優勢:雙卡壓管材承繼了卡壓管材的全部優勢,填補了單卡壓液壓管件連接頭在應用全過程中的不夠。雙卡壓式管路系統軟件是在我國厚壁管管金屬材料復合材質管路連接方式中Z有效Z可信賴的連接方式之一,其普遍可以用飲用水、飲用水、暖氣管道、采暖、天然氣、灑水噴頭等諸多系統軟件行業。






